
產品詳細資料:
J41F46-16C襯氟法蘭截止閥的啟閉件是塞形的閥瓣,密封面呈平面或錐面,閥瓣沿流體的中心線作直線運動。閥桿的運動形式,有升降桿式(閥桿升降,手輪不升降),也有升降旋轉桿式(手輪與閥桿一起旋轉升降,螺母設在閥體上)。截止閥只適用于全開和全關,不允許作調節和節流。
J41F4-10/16、J41F46-10/16襯氟截止閥的介紹:
J41F46-16C襯氟法蘭截止閥屬于強制密封式閥門,所以在閥門關閉時,必須向閥瓣施加壓力,以強制密封面不泄漏。當介質由閥瓣下方進入閥六時,操作力所需要克服的阻力,是閥桿和填料的磨擦力與由介質的壓力所產生的推力,關閥門的力比開閥門的力大,所以閥桿的直徑要大,否則會發生閥桿頂彎的故障。近年來,從自密封的閥門出現后,截止閥的介質流向就改由閥瓣上方進入閥腔,這時在介質壓力作用下,關閥門的力小,而開閥門的力大,閥桿的直徑可以相應地減少。同時,在介質作用下,這種形式的閥門也較嚴密。我國閥門“三化給”曾規定,截止閥的流向,一律采用自上而下。
襯氟截止閥開啟時,閥瓣的開啟高度,為公稱直徑的25%~30%時,流量已達到Z大,表示閥門已達全開位置。所以截止閥的全開位置,應由閥瓣的行程來決定。
【性能參數】
公稱通徑:DN15~350mm;
公稱壓力:PN1.0~2.5Mpa;
連接形式:法蘭連接;
驅動裝置:手動,蝸輪傳動,電動,氣動;
適用介質:硫酸,氫氟酸,磷酸,氯氣,強堿,王水等任意具有強腐蝕性的介質;
設計標準:遵循GB/T12233,GB/T12235,ANSIB16.34;
結構長度標準:遵循GB/T1221,HG/T 3704,ASME B16.10;
壓力試驗標準:遵循GB/T13927,API598;
J41F4-10/16、J41F46-10/16襯氟截止閥的結構特點:

J41F4-10/16、J41F46-10/16襯氟截止閥主要零件材料:
型號 | 閥體 | 閥瓣 | 支架 | 閥桿 |
J41F4-10/16 | WCB襯F4 | WCB襯F4 | WCB襯F4 | 2Cr13 |
J41F46-10/16
| WCB襯F46 | WCB襯F46 | WCB襯F46 |
J41F4-10/16、J41F46-10/16襯氟截止閥主要技術參數:
設計標準 | GB12233/GB12233 |
結構長度 | GB12221 |
法蘭標準 | JB/T79-94 |
GB9113.1-26 | |
檢驗試驗 | GB/T13927 |
驅動方式 | 手動、電動、氣動 |
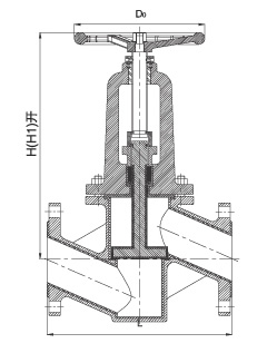
J41F4-10/16、J41F46-10/16襯氟截止閥主要外形尺寸:
公稱通徑DN(mm) | 尺寸(mm) | |||
L | H | H1 | D0 | |
15 | 130 | 220 | 250 | 125 |
20 | 150 | 220 | 250 | 125 |
25 | 160 | 235 | 270 | 125 |
32 | 180 | 265 | 300 | 170 |
40 | 200 | 280 | 315 | 170 |
50 | 230 | 310 | 355 | 170 |
65 | 290 | 340 | 400 | 250 |
80 | 310 | 420 | 500 | 250 |
100 | 350 | 460 | 540 | 320 |
125 | 400 | 470 | 570 | 320 |
150 | 480 | 560 | 670 | 360 |
200 | 600 | 610 | 725 | 400 |
250 | 730 | 750 | 870 | 500 |
300 | 850 | 860 | 1020 | 600 |
測試:
襯里層:電火花檢測
試驗與檢驗按GB/T13927標準
公稱壓力:PN(MPa)
閥體:PN×1.5
密封:PN×1.1
J41F46襯氟截止閥設計特點:
1.氟塑料全襯里J41F46型直通式截止閥,J45F46型直流式截止閥/J44F46型角式截止閥,具有結構緊湊/啟閉靈活/耐腐蝕性能強,行程短(一般為公稱通徑1/4)等項優點,被廣泛應用在石油、化工等管路系統中做截斷介質用,但需要強調的是氟塑料襯里的截止閥嚴禁用做流量調節,以免節流口處產生的高速介質流沖蝕破壞密封面.
2.閥瓣與閥桿設計為一體結構,用以防止由于管路壓力波動造成內件沖出閥體的可能性,結構緊湊,使用安全.
3.氟塑料全襯里截止閥可根據所輸送介質、客戶要求選用內襯里材質,主要有:聚四氟乙烯PTFE/簡稱F4
聚全氟代乙丙烯FEP/簡稱F46
可熔性聚四氟乙烯PFA
超高分子量聚乙烯(PE)
訂貨須知:
一、①J41F46襯氟截止閥產品名稱與型號②J41F46襯氟截止閥口徑③J41F46襯氟截止閥是否帶附件以便我們的為您正確選型。
二、若已經由設計單位選定型號,請按型號直接向我們華楊銷售部訂購。
三、當使用的場合非常重要或環境比較復雜時,請您盡量提供設計圖紙和詳細參數,由我們華楊的閥門為您審核把關。